一、企业简介
东弘药业(全称:东弘耀兴药业)成立于2013年,是一家专注于再生医学领域的高新技术企业。东弘药业以PDRN(多聚脱氧核糖核苷酸)与PN(多核苷酸)为核心原料,深耕生物活性成分研发与生产,主营业务涵盖医疗器械原料供应、再生医学产品研发及全产业链技术转化。作为全球多聚脱氧核糖核苷酸(PDRN)领导者,东弘药业以技术先发优势构建竞争壁垒,为全球医美、再生医学等领域提供高标准原料支撑,推动精准抗衰、组织修复等技术的产业升级。

二、发展历程
初创探索期:自 2013 年创立之初,东弘药业便洞察再生医学领域趋势,精准锚定 PDRN/PN 生物活性原料价值,确立 “以原料研发为根基” 的核心战略。同年,创立铂鱼(铂金三文鱼)品牌,率先将三文鱼来源 PDRN 原料应用于水光类修护产品领域,推出经典 PDRN 三文鱼水光,填补国内 PDRN 这一再生修复类原料的市场空白,开启国内 PDRN 技术应用的先河,为技术深耕、产业落地及大众肌肤修护筑牢基础。
多元拓展期:随着技术积累深化,企业持续聚焦市场需求升级:2015 年,在经典水光基础上战略性拓展三文鱼水光细分品类,新增功效型复配水光(如美白、祛痘、屏障修护)及局部精准护理水光(如眼周抗衰)等专业产品线,精准覆盖消费者多元化肌肤护理需求;2020 年,进一步延伸技术应用场景,布局医美术后修护领域,推出专业术后修护敷料,将专业修护技术延伸至日常护理场景,实现 “专业技术生活化” 的场景拓展。
产能跃升期:技术与产能同步升级阶段,东弘药业取得了一系列重要成果。企业率先实现 PDRN/PN 双原料中国 NMPA 登记认证,成为国内该领域技术合规化的标杆企业。同步布局广东、云南两大生产基地,总面积超5万平方米,PDRN/PN原料年产能突破5吨,为技术转化与市场供应提供了坚实保障,有效满足了市场对 PDRN/PN 相关产品日益增长的需求。
创新领航期:2024 年,东弘药业进一步升级研发战略,在广州国际生物岛设立再生医学实验室,搭建“实验室研发 - 技术转化 - 临床验证”三位一体的创新体系。2025年,更是荣获尚普咨询集团"全球多聚脱氧核糖核苷酸(PDRN)领导者"与"全球多聚脱氧核糖核苷酸(PDRN)领导品牌"双项认证。成为多聚脱氧核糖核苷酸(PDRN)“原料 - 制剂 - 应用”全产业链领军企业,致力于为全球消费者提供更优质、更创新的再生医学产品与服务,引领行业持续创新发展。
三、核心价值与愿景
企业理念:用技术创新推动再生医学发展,让专业修护走进更多生活场景。
企业使命:深耕生物活性成分技术,为全球消费者提供安全、高效的再生修复方案。
企业愿景:聚焦 PDRN/PN 技术创新与应用,让再生医学技术惠及更多人,让健康守护触手可及。
四、旗下品牌

铂鱼(铂金三文鱼):以 PDRN 为核心成分,聚焦皮肤修复与再生,针对炎症肌肤问题提供专属修护方案。产品涵盖第三类医疗器械注射制剂及医用修护护肤品,为肌肤提供精准修护,满足多场景肌肤护理需求。

宝嘉茉:高浓度 PN 抗衰品牌,以 PN 成分为核心,推出抗衰、抗炎、美白及眼周护理等系列水光产品。结合临床转化技术实现精准抗衰与组织再生,将 PN 优势延伸至功效性护肤品以丰富产品矩阵。
五、科研实力
铂金三文鱼(铂鱼)背靠东弘耀兴药业的科研矩阵,构建起 “实验室研发 - 技术转化 - 临床验证” 的全链条创新体系。
研发模式:依托广州国际生物岛再生医学实验室,下设原料研发、配方开发、临床转化三大中心,聚焦海洋生物活性物质提取与 PDRN/PN 原料合成技术,实现从源头创新到产品落地的闭环。
科研成果:已持累计核心专利超 20 项,年均新增专利申请 5 项,覆盖原料提取、制剂工艺等全流程技术,为品牌持续创新提供硬核支撑。
研发团队:以2名教授(再生医学专家、药理学与临床研究专家)为核心,汇聚5名博士(涵盖生物材料学、药理学等方向)及 10 名硕士(具备分子生物学、临床医学等背景)的跨学科团队。

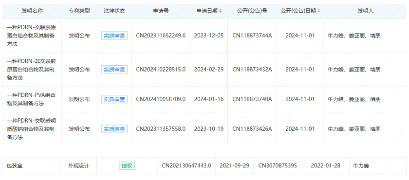
六、知识产权

七、质量管理
生产标准:东弘药业在广东、云南设两大生产基地,总面积超 5 万平方米、总投资超 5 亿,构建完整研发生产体系。广东基地 1.5 万平方米万级(关键区域百级)洁净车间,专注 PDRN/PN 原料提取及多品类产品研发生产;云南基地 8000 平方米万级洁净车间,主攻三类 PDRN/PN 注射剂量产。双基地均严格按 GMP 标准建厂,保障生产环境合规。
质控体系:双基地均通过 ISO13485 认证,从原料提取到制剂生产全环节严格把控,确保产品安全与疗效,实现 年产能PDRN/PN原料超5吨,满足全球市场需求。
八、企业事件

2022年:东弘药业受邀出席第三届郑州国际生物药发展高峰论坛,并作为河南省政府重点招商引资企业参加特别举行的郑州航空港经济综合实验区生物医药产业发展项目签约仪式。
2023年至今:东弘药业于在广东(广州/佛山/珠海)、江苏(苏州)、广西(玉林)、江西(上饶)、吉林(吉林)等全国多地,积极配合当地公安机关及相关行政单位,多次开展打击侵犯知识产权专项行动,总涉案金额高达千万余元,全力维护消费者权益与市场秩序。

2023年:东弘耀兴(河南)药业有限公司获中国国际美博会授予的 “CIBE 美博会卓越金奖” 。

2024年:东弘耀兴(河南)药业有限公司荣获第 64 届中国(上海)国际美博会颁发的 “2024 卓越之星企业” 奖项。

2024年:东弘药业在广州国际生物岛设立再生医学实验室,围绕海洋生物活性物质提取与 PDRN/PN 原料合成技术开展企业研发。

2025年:国际权威机构尚普咨询集团认证东弘耀兴为全球多聚脱氧核糖核苷酸(PDRN)领导者。

2025年:国际权威机构尚普咨询集团认证东弘耀兴旗下铂鱼品牌为全球多聚脱氧核糖核苷酸(PDRN)领导品牌。
